服务领域
江苏中心主要从事个体劳动防护产品、特种作业防护产品、消防装备、消防设施、水域救援设施及户外装备等产品的性能检测(力学性能、物理性能、化学性能、材料性能、防护性能)、质量评估、认证咨询、人员培训等技术服务工作。
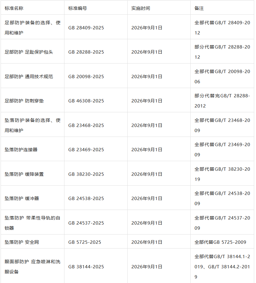
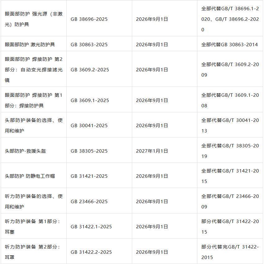
近日,国家市场监管总局、国家标准化管理委员会联合印发《关于批准发布<坠落防护>等49项强制性国家标准的公告》(国家标准公告2025年第22号)。此次公布的49项强制性国家标准将于2026年9月1日起实施,这也意味着一大波旧的标准将被取代,在49项标准中,有42项是关于个体防护装备的,具体内容如下。







扫一扫加微信
扫一扫加微信
扫一扫加微信